一种安全性高的天然气容器罐的制作方法
- 发表时间:2024-06-21
- 来源:本站
- 人气:9576

1.本实用新型涉及储罐设备技术领域,具体为一种安全性高的天然气容器罐。
背景技术:
2.液化天然气是天然气经压缩、冷却至其沸点温度后变成液体,主要成分是甲烷,被公认是地球上最干净的化石能源,无色、无味、无毒且无腐蚀性,其体积约为同量气态天然气体积的1/625,液化天然气的质量仅为同体积水的 45%左右。液化天然气作为清洁能源在工业及民用上得到广泛的应用,液化天然气储存在零下161.5摄氏度、0.1mpa左右的低温储存罐内,液化天然气储罐是储存液化天然气的专业产品,特种设备,三类压力容器,06ni9dr材料,经过探伤,水压气压试验,技术监督局现场检验,出具压力容器检验证书,外部除锈喷漆等工艺制造完成。液化气储罐对受压元件材质、外观尺寸和焊缝质量、运行质量、安装质量、内部装置及安全附件有着严格质量鉴定。
3.当前液化天然气一般都储存在普通容器罐内,但是现在天然气容器罐在储存和运输过程中内腔压力升高时,容器罐自身无压力调节能力,导致天然气卸车不便;同时天然气容器罐装满液化天然气在运输过程中易因液体碰撞造成静电造成安全隐患;并且现有天然气容器罐在晴天运输时易导致罐体温度过高,且无有效的降温措施易造成罐体爆炸。
技术实现要素:
4.本实用新型的目的在于提供一种安全性高的天然气容器罐,以解决上述背景技术中提出的问题。
5.为实现上述目的,本实用新型提供如下技术方案:一种安全性高的天然气容器罐,包括固定基座,所述固定基座上端面固定连接有容器罐,所述容器罐包括罐体、进液管、压力检测装置、降温进液管、释压管、内腔、出液管、防撞装置、降温排液管和冷却腔,所述进液管贯穿连接在罐体内部,所述压力检测装置固定连接在罐体上端面一侧,所述降温进液管固定连接在罐体上端面,所述释压管固定连接在罐体上端面另一侧,所述内腔开设在罐体内部,所述防撞装置固定连接在内腔内壁,所述冷却腔开设在罐体的内部,所述出液管固定连接在罐体一端,所述降温排液管固定连接在罐体下端面,所述容器罐上端面固定连接有释压装置,所述释压装置包括释压罐、气体阀门、释压腔、活塞、活塞杆和螺纹槽,所述气体阀门固定连接在释压罐上端面,所述释压腔开设在释压罐内部,所述活塞杆通过活塞滑动连接在释压腔内部,所述螺纹槽开设在释压罐背离气体阀门一端。
6.优选的,所述进液管一端贯穿罐体表层连通内腔底部一侧,所述出液管通过管道连通内腔另一侧底部。
7.优选的,所述冷却腔开设在罐体内部,且不与内腔连通,所述降温进液管和降温排液管连通冷却腔内部,所述压力检测装置和释压管连通内腔上部。
8.优选的,所述防撞装置共四组对称在内腔内壁,所述防撞装置包括防撞盘和过液孔,所述过液孔至少有一组开设在防撞盘侧端面。
9.优选的,所述活塞共三组,且两组活塞分别固定连接在活塞杆的两端,另一组固定连接在活塞杆背离释压腔一端的侧端面。
10.优选的,所述释压装置通过螺纹槽与释压管固定连接,且活塞杆固定两组活塞的一端滑动连接在释压管内部。
11.与现有技术相比,本实用新型的有益效果如下:
12.1、本实用新型通过在罐体上端面固定连接压力检测装置和释压管,压力检测装置和释压管的一端与内腔上部连通,使得压力检测装置可检测内腔内部压力的大小,同时释压管的另一端通过与固定连接,其中内部开设有释压腔,活塞杆通过活塞滑动连接在释压腔内部,并且活塞共有三组,且两组活塞分别固定连接在活塞杆的两端,另一组固定连接在活塞杆背离释压腔一端的侧端面,活塞杆固定两组活塞的一端滑动连接在释压管内部,使得内腔内部的压力改变会自动调节活塞在释压管内部的位置,同时在释压罐上端面固定连接有气体阀门,使得释压腔与内腔内部的压力可通过气体阀门向释压腔内部注入或排出空气来保持动态平衡,进而通过调节释压腔内部的压力可对内腔内部的压力进行调节,从而解决了现有天然气容器罐在储存和运输过程中内腔压力升高时,容器罐自身无压力调节能力,导致天然气卸车不便的问题。
13.2、本实用新型通过防撞装置固定连接在内腔内壁,同时在防撞装置的侧端面开设有多组过液孔,使得天然气容器罐装满液化天然气在运输过程中不易因液体碰撞造成静电造成安全隐患,从而解决了现有天然气容器罐在运输过程中易产生安全隐患的问题。
14.3、本实用新型通过在罐体内部开设冷却腔,冷却腔与内腔之间有一层密闭隔板,使得冷却腔与内腔之间可进行换热,同时在罐体的侧端面固定连接降温进液管和降温排液管,且降温进液管和降温排液管与冷却腔连通,使得降温进液管与降温排液管可对冷却腔内部进行添加或排放液体,用以对内腔内部间接降温,从而解决了现有天然气容器罐在晴天运输时易导致罐体温度过高,且无有效的降温措施易造成罐体爆炸的问题。
附图说明
15.图1为本实用新型的装置主体结构示意图;
16.图2为本实用新型的容器罐剖视结构示意图;
17.图3为本实用新型的防撞装置结构示意图;
18.图4为本实用新型的释压装置结构示意图。
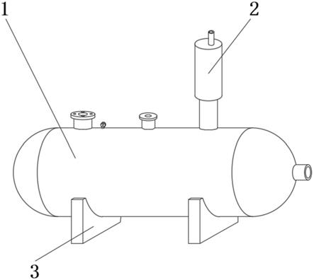
19.图中:1-容器罐、2-释压装置、3-固定基座、4-罐体、5-进液管、6-压力检测装置、7-降温进液管、8-释压管、9-内腔、10-出液管、11-防撞装置、 12-降温排液管、13-冷却腔、14-防撞盘、15-过液孔、16-释压罐、17-气体阀门、18-释压腔、19-活塞、20-活塞杆、21-螺纹槽。
具体实施方式
20.下面将结合本实用新型实施例中的附图,对本实用新型实施例中的技术方案进行清楚、完整地描述,显然,所描述的实施例仅仅是本实用新型一部分实施例,而不是全部的实施例。基于本实用新型中的实施例,本领域普通技术人员在没有做出创造性劳动前提下所获得的所有其他实施例,都属于本实用新型保护的范围。
21.请参阅图1-4,本实用新型提供的一种实施例:一种安全性高的天然气容器罐,包
括固定基座3,固定基座3上端面固定连接有容器罐1,容器罐1包括罐体4、进液管5、压力检测装置6、降温进液管7、释压管8、内腔9、出液管10、防撞装置11、降温排液管12和冷却腔13,进液管5贯穿连接在罐体4内部,压力检测装置6固定连接在罐体4上端面一侧,降温进液管7固定连接在罐体4上端面,释压管8固定连接在罐体4上端面另一侧,内腔9 开设在罐体4内部,防撞装置11固定连接在内腔9内壁,冷却腔13开设在罐体4的内部,出液管10固定连接在罐体4一端,降温排液管12固定连接在罐体4下端面,容器罐1上端面固定连接有释压装置2,释压装置2包括释压罐16、气体阀门17、释压腔18、活塞19、活塞杆20和螺纹槽21,气体阀门17固定连接在释压罐16上端面,释压腔18开设在释压罐16内部,活塞杆20通过活塞19滑动连接在释压腔18内部,螺纹槽21开设在释压罐16背离气体阀门17一端。
22.进液管5一端贯穿罐体4表层连通内腔9底部一侧,出液管10通过管道连通内腔9另一侧底部,冷却腔13开设在罐体4内部,且不与内腔9连通,降温进液管7和降温排液管12连通冷却腔13内部,压力检测装置6和释压管8连通内腔9上部,防撞装置11共四组对称在内腔9内壁,防撞装置11 包括防撞盘14和过液孔15,过液孔15至少有一组开设在防撞盘14侧端面,活塞19共三组,且两组活塞19分别固定连接在活塞杆20的两端,另一组固定连接在活塞杆20背离释压腔18一端的侧端面,释压装置2通过螺纹槽21 与释压管8固定连接,且活塞杆20固定两组活塞19的一端滑动连接在释压管8内部。
23.工作原理:天然气容器罐在使用时,通过进液管5将液化天然气装入内腔9内部,然后将装置放置在运输车上进行运输,在运输过程中内腔9内部的防撞装置11可有效防止液化天然气在内腔9内部碰撞产生静电,当压力检测装置6检测到内腔9内部压力过高时,通过气体阀门17调节释压腔18内部的压力,内腔9内部的压力会推动活塞19和活塞杆20在释压管8与释压腔18内部滑动,完成对内腔9内部压力的调节,当运输时容器罐1表面的温度过高时,通过降温进液管7向冷却腔13内部加入液氮,冷却腔13的低温可传导至内腔9内用以调节内腔9内部的温度,防止内腔9内部温度过高产生爆炸,运输完成后可通过出液管10将内腔9内部的液化天然气取出。
24.尽管已经示出和描述了本实用新型的实施例,对于本领域的普通技术人员而言,可以理解在不脱离本实用新型的原理和精神的情况下可以对这些实施例进行多种变化、修改、替换和变型,本实用新型的范围由所附权利要求及其等同物限定。
技术特征:
1.一种安全性高的天然气容器罐,包括固定基座(3),其特征在于:所述固定基座(3)上端面固定连接有容器罐(1),所述容器罐(1)包括罐体(4)、进液管(5)、压力检测装置(6)、降温进液管(7)、释压管(8)、内腔(9)、出液管(10)、防撞装置(11)、降温排液管(12)和冷却腔(13),所述进液管(5)贯穿连接在罐体(4)内部,所述压力检测装置(6)固定连接在罐体(4)上端面一侧,所述降温进液管(7)固定连接在罐体(4)上端面,所述释压管(8)固定连接在罐体(4)上端面另一侧,所述内腔(9)开设在罐体(4)内部,所述防撞装置(11)固定连接在内腔(9)内壁,所述冷却腔(13)开设在罐体(4)的内部,所述出液管(10)固定连接在罐体(4)一端,所述降温排液管(12)固定连接在罐体(4)下端面,所述容器罐(1)上端面固定连接有释压装置(2),所述释压装置(2)包括释压罐(16)、气体阀门(17)、释压腔(18)、活塞(19)、活塞杆(20)和螺纹槽(21),所述气体阀门(17)固定连接在释压罐(16)上端面,所述释压腔(18)开设在释压罐(16)内部,所述活塞杆(20)通过活塞(19)滑动连接在释压腔(18)内部,所述螺纹槽(21)开设在释压罐(16)背离气体阀门(17)一端。
2.根据权利要求1所述的一种安全性高的天然气容器罐,其特征在于:所述进液管(5)一端贯穿罐体(4)表层连通内腔(9)底部一侧,所述出液管(10)通过管道连通内腔(9)另一侧底部。3.根据权利要求1所述的一种安全性高的天然气容器罐,其特征在于:所述冷却腔(13)开设在罐体(4)内部,且不与内腔(9)连通,所述降温进液管(7)和降温排液管(12)连通冷却腔(13)内部,所述压力检测装置(6)和释压管(8)连通内腔(9)上部。4.根据权利要求1所述的一种安全性高的天然气容器罐,其特征在于:所述防撞装置(11)共四组对称在内腔(9)内壁,所述防撞装置(11)包括防撞盘(14)和过液孔(15),所述过液孔(15)至少有一组开设在防撞盘(14)侧端面。5.根据权利要求1所述的一种安全性高的天然气容器罐,其特征在于:所述活塞(19)共三组,且两组活塞(19)分别固定连接在活塞杆(20)的两端,另一组固定连接在活塞杆(20)背离释压腔(18)一端的侧端面。6.根据权利要求5所述的一种安全性高的天然气容器罐,其特征在于:所述释压装置(2)通过螺纹槽(21)与释压管(8)固定连接,且活塞杆(20)固定两组活塞(19)的一端滑动连接在释压管(8)内部。
技术总结
本实用新型公开了一种安全性高的天然气容器罐,包括固定基座,所述固定基座上端面固定连接有容器罐,所述容器罐包括罐体、进液管、压力检测装置、降温进液管、释压管、内腔、出液管、防撞装置、降温排液管和冷却腔,所述进液管贯穿连接在罐体内部,所述压力检测装置固定连接在罐体上端面一侧,所述降温进液管固定连接在罐体上端面,所述释压管固定连接在罐体上端面另一侧,所述内腔开设在罐体内部,所述防撞装置固定连接在内腔内壁,所述冷却腔开设在罐体的内部,所述出液管固定连接在罐体一端,所述降温排液管固定连接在罐体下端面,所述容器罐上端面固定连接有释压装置。本实用新型对天然气释压效果好,同时可有效对罐体进行降温。同时可有效对罐体进行降温。同时可有效对罐体进行降温。
技术研发人员:杨章中 丁宁
受保护的技术使用者:兴义港华燃气有限公司
技术研发日:2021.07.28
技术公布日:2022/5/10
- 2026-02-07LNG储罐设计与保温材料要求:如何选择低温压力容器
- 2026-02-07液氧储罐风险清单与预防措施:识别低温、压力等安全隐患
- 2026-02-06液氩危害大吗?泄漏会缺氧窒息,安全使用需注意
- 2026-02-06液氨储罐设计规范解读:选材要求与安全附件配置指南
- 2026-02-05液氩储罐厂家怎么选?资质案例是关键
- 2026-02-05液氮储罐如何抽真空?详细流程与前期准备指南
- 2026-02-04低温液体储罐原理与安全隐患详解,液氧液氮储存必看
- 2026-02-04液氧储罐乙炔含量检测标准与周期,超标危害大,安全必查
- 2026-02-03液氩储罐爆炸原因分析与危险区域划分方法
- 2026-02-03液氩储罐安全距离规定,户外储罐离建筑多远才安全
- 2026-02-02液氨泄漏了怎么办?应急处理与安全疏散指南
- 2026-02-02二氧化碳储罐安全距离规定,与居民区多远才安全?
- 2026-02-01天然气储罐类型详解:高压CNG与低压LNG储罐如何区分选择
- 2026-02-01液氨储罐怎么接地才安全?防静电防雷要求与电阻值详解
- 2026-01-31天然气储罐设计与建造标准有哪些?一文详解规范要求
- 2026-01-31液氩储罐色环标准解读:颜色与宽度怎么定?
-
液化天然气(LNG)储罐
冲压设备必须具备以下安全设施:⒈冲压设备上应··· -
液化石油气(LPG)储罐
冲压设备必须具备以下安全设施:⒈冲压设备上应··· -
液化石油气储罐撬装
冲压设备必须具备以下安全设施:⒈冲压设备上应··· -
液氯储罐
液氯储罐亦称液氯储槽,是盛装液氯介质的专用压···

